广东防爆伺服电机IIBT好还是IICT4哪种等级高
2025-03-14 15:23:15
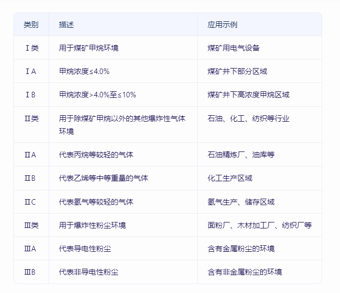
广东防爆伺服电机的防爆等级选择取决于具体的使用环境和工作要求,IIBT4和IICT4各有其适用场景。以下是两者的主要区别和适用情况,供您参考:

1. 气体组别的适用范围
IIBT4:适用于中等危险性气体环境,如乙烯。其气体组别为IIB,适用于包含粉尘,乙烯、丙烷等气体的场合。
IICT4:适用于高危险性气体环境,如氢气或乙炔。其气体组别为IIC,能够防护氢气和乙炔等极易燃气体。
2. 温度组别的限制
IIBT4:最大表面温度不超过135°C,适合对设备表面温度要求更严格的场合。
IICT4:虽然同样限制最大表面温度为135°C,但由于其气体组别更高,因此适用于更危险的气体环境。
3. 应用场景
IIBT4:适合中等危险性气体环境,且对设备表面温度有较高要求的场合。
IICT4:适合高危险性气体环境,尤其是含有氢气或乙炔的场合。
4. 安全性要求
IICT4的防爆等级更高,设计和制造要求更严格,适用于安全性要求极高的环境。
IIBT4则适用于相对较低的危险性环境,但在中等危险性气体环境中同样可靠。
5. 经济性
由于IICT4的设计和制造成本更高,其价格通常比IIBT4更昂贵。因此,如果使用环境不需要IICT4的更高防爆等级,选择IIBT4可能更具经济性。
结论
IIBT4 和 IICT4 各有优势,选择哪种防爆等级取决于具体的气体环境、温度要求和安全性标准。如果环境中仅包含中等危险性气体(如乙烯),
且对温度要求严格,IIBT4 是更经济且合适的选择。如果涉及高危险性气体(如氢气或乙炔),则 IICT4 是更安全的选择。

